Open this page in a new tab

Teleilat Ghassul

Teleilat Ghassul Teleilat el-Ghassul

click on image to open a slightly high res magnifiable image in a new tab

APAAME
APAAME_19980517_
RHB-0044.tif


Names
Transliterated Name Source Name
Teleilat Ghassul Arabic
Tuleilat el-Ghassul Arabic
Tulaylât al-Ghassûl Arabic
Introduction
Identification

Tuleilat el-Ghassul is a large settlement (c. 50 a. in area) dating from the Late Neolithic and Chalcolithic periods. The site, c. 295 m below sea level, is made up of a group of small mounds and is situated in the lower Jordan Valley, about 5 km (3 mi.) northeast of the Dead Sea. The site was initially discovered in the 1920s, by A. Mallon and a team from the Pontifical Biblical Institute in Jerusalem. During this early phase of research, the investigators were primarily concerned with identifying the five cities of the plain mentioned in Genesis 14 and tentatively identified Ghassul with one of them. Following the first excavations, from 1929 to 1938, it became clear that Tuleilat el-Ghassul represented a new pre-Bronze Age culture in the country's archaeological history. The first to suggest ascribing this culture to the Chalcolithic period was W. F. Albright, and by the mid-1930s its distinct material culture made Tuleilat el-Ghassul the type site for this period.

Excavations

Excavations up until 1978

The initial excavations by the Pontifical Biblical Institute revealed four major superimposed strata (I-IV, earliest to latest), separated from one another by layers of ash, wind-blown and other sediments. The maximum depth of the cultural deposits reached approximately 5 m. The most perplexing problem associated with these deep stratigraphic excavations was the lack of change observed in the material culture assemblage. This homogeneity led the researchers to interpret the four strata as representing a single culture, which R. Neuville named Ghassulian, a term that became synonymous with the Chalcolithic period in this country. To tackle the stratigraphic problem anew, the Pontifical Biblical Institute resumed excavations in 1960, under the direction of R. North, but was unsuccessful in demonstrating any technological development. In 1967, the third and most recent phase of excavation was initiated by B. Hennessy, under the aegis of the British School of Archaeology in Jerusalem. These excavations (1967 and 1975-1978) focused on providing a reliable stratigraphy and sequence of settlement on the site's various mounds; stratigraphically relating the individual mounds to one another; obtaining a large exposure of the earliest settlement phase; collecting paleoenvironmental data; establishing an absolute chronology for the site, using radiocarbon methods; and relating the site to surrounding settlements assumed to be contemporary. Since the early excavations, numerous regional cultures dating to the Chalcolithic period have been found in Israel and Jordan, limiting the value of the term Ghassulian to the site and its immediate environs

Excavations in the 1990s

Excavation of Ghassul (see Vol. 2, pp. 506–511) was renewed in the 1990s with three seasons conducted by a team from Sydney University (Australia) led by S. Bourke. The work consisted of several small soundings on some of the hillocks that make up the site. All remains date from the Chalcolithic period, but analysis of the finds is only in a preliminary stage. The limited nature of the soundings meant that large areas of coherent architecture were not uncovered. Rather, multiple phases (sometimes up to 10) of partial houses and courtyards with pits and silos were discerned. Aside from the usual tools and ceramics at the site, another small fragment of a painted wall fresco was found.

Summary

Tuleilat el-Ghassul is the largest Chalcolithic site in the country and provides new evidence concerning the local evolution of this culture beginning in the Late Neolithic period. Although previously viewed as the type site for the Chalcolithic, very few copper objects have been found at the site. No evidence of metal production was found in the recent excavations and only a few copper axes were recovered in the Pontifical Biblical Institute's investigations. Recent radiocarbon dates and the pottery from the earliest phase suggest an affinity to the Pottery Neolithic at Jericho, Middle and Late Neolithic Byblos, and Neolithic sites in the southern Beqa'a in Lebanon. While general similarities exist between Ghassul and the Beersheba Valley sites, the relationship between these cultures is more complex than previously thought. This is due to the lack of radiocarbon dates from the upper levels at Ghassul, the virtual absence of a metal industry at the site, and the need for more provenance studies to trace interregional relations during this period. Recent excavations at Gilat show that this site has more affinities with Ghassul. Although Tuleilat el-Ghassul has been investigated for over sixty years now, scholars have still not explained why it grew into one of the largest late fifth-to fourth-millennia sites in the Levant.

Maps, Aerial Views, Plans, Sections, Harris Matrix, and Photos
Maps, Aerial Views, Plans, Sections, Harris Matrix, and Photos

Maps and Aerial Views

Normal Size

  • Map 1 - Late Neolithic Sites of the Levant from Lovell (2001)
  • Map 2 - Early and Middle Chalcolithic Sites of the Levant from Lovell (2001)
  • Map 3 - Late Chalcolithic Sites of the Levant from Lovell (2001)
  • Teleilat Ghassul in Google Earth

Magnified

  • Map 1 - Late Neolithic Sites of the Levant from Lovell (2001)
  • Map 2 - Early and Middle Chalcolithic Sites of the Levant from Lovell (2001)
  • Map 3 - Late Chalcolithic Sites of the Levant from Lovell (2001)

Plans

Site Plans

Normal Size

  • Fig. 1.1                Plan of Teleilat Ghassul before excavation by PBI from Lovell (2001)
  • Fig. 3.1a                Plan of Teleilat Ghassul showing excavated areas from Lovell (2001)

Magnified

  • Fig. 1.1                Plan of Teleilat Ghassul before excavation by PBI from Lovell (2001)
  • Fig. 3.1a                Plan of Teleilat Ghassul showing excavated areas from Lovell (2001)

Area A

Normal Size

  • Fig. 3.1a                Plan of Teleilat Ghassul showing excavated areas from Lovell (2001)
  • Fig. 3.1b                Plan of Area A showing the position of Bourke's soundings from Lovell (2001)
  • Fig. 3.9                Composite plan of Area A phase C from Lovell (2001)
  • Fig. 3.10                Composite plan of Area A phase B from Lovell (2001)
  • Fig. 3.11                Composite plan of Area A phase A from Lovell (2001)

Magnified

  • Fig. 3.1a                Plan of Teleilat Ghassul showing excavated areas from Lovell (2001)
  • Fig. 3.1b                Plan of Area A showing the position of Bourke's soundings from Lovell (2001)
  • Fig. 3.9                Composite plan of Area A phase C from Lovell (2001)
  • Fig. 3.10                Composite plan of Area A phase B from Lovell (2001)
  • Fig. 3.11                Composite plan of Area A phase A from Lovell (2001)

Tell 1 (aka Mound 1)

Normal Size

  • Fig. 1.2                Plan of excavated house from Tell 1 from Lovell (2001)
  •                           Plan of stratum IV on mound I from Stern et al (1993 v. 2)

Magnified

  • Fig. 1.2                Plan of excavated house from Tell 1 from Lovell (2001)
  •                           Plan of stratum IV on mound I from Stern et al (1993 v. 2)

Sections

  • Fig. 3.14                section AII from Lovell (2001)

Harris Matrix

Magnified

  • Fig. 3.13                AX Harris matrix from Lovell (2001)
  • Fig. 3.15                AII Harris matrix from Lovell (2001)

Photos

  • Plate III.1                from Lovell (2001)
  • Plate III.2                from Lovell (2001)
  • Plate III.9                from Lovell (2001)
  • Plate III.14                from Lovell (2001)
  • Plate III.15                from Lovell (2001)
  • Plate III.16                from Lovell (2001)
  • Plate III.17                from Lovell (2001)
  • Plate III.18                from Lovell (2001)
  • Plate III.19                from Lovell (2001)
  • Plate III.20                from Lovell (2001)
  • Plate III.30                Fallen mudbricks AIII, phase E from Lovell (2001)

Archaeoseismic Chronology
Phasing

Stratigraphy of Area A from Lovell (2001)

Plans and Photos

Plans and Photos

Plans

Normal Size

  • Fig. 1.2                Plan of excavated house from Tell 1 from Lovell (2001)
  • Fig. 3.1a                Plan of Teleilat Ghassul showing excavated areas from Lovell (2001)
  • Fig. 3.1b                Plan of Area A showing the position of Bourke's soundings from Lovell (2001)

Magnified

  • Fig. 1.2                Plan of excavated house from Tell 1 from Lovell (2001)
  • Fig. 3.1a                Plan of Teleilat Ghassul showing excavated areas from Lovell (2001)
  • Fig. 3.1b                Plan of Area A showing the position of Bourke's soundings from Lovell (2001)

Photos

  • Plate III.1                from Lovell (2001)
  • Plate III.2                from Lovell (2001)

Discussion
Introduction

The site of Teleilat Ghassul was the first major Chalcolithic site extensively excavated and is unique in the history of Chalcolithic scholarship. It is still widely held to be a key site for the Chalcolithic (Gonen 1992:41; Stager 1992:27). Despite this, publication has been inadequate. Magnificent wall paintings have been found there (Koeppel 1940:pls. 5-8) which have found their way into major museum exhibits. Very little is known of their contexts, or the specifics of other associated material.

The PBI excavators had an eye for certain aspects of detail, for example bricks were described at some length (Mallon et al. 1934:34-5) and their ground plans (an example is reproduced here as figure 1.2) suggested a degree of town planning. Impressive features were documented including streets (Koeppel 1940:pl. 18.2) and covered drains (Koeppel 1940:pl. 32.2). The two volumes present quite good photographs and plans that give detailed notes on installations of various kinds. They also go to some effort to explain the geographical setting of the site (Mallon et al. 1934:5-26). Nonetheless, they did not present complete catalogues of material13, nor were they able to document in publication the four-five stages they claimed to have excavated at the site. Koeppel made an attempt to divide level IV, the upper level, into two phases, IV A and IVB on stratigraphic grounds, but this is not successful:
We have come to the conclusion that all the walls and hearths can be divided into two classes that belong to levels IV A and B respectively, although we must admit that they really form one whole (Koeppel 1940:53).
The joint British School of Archaeology in Jerusalem and University of Sydney (BSAJ/USyd) work was more careful in its stratigraphic investigation and provided new insights. Hennessy's first season distinguished ten building phases and broad exposures revealed carefully excavated floor deposits which tell us much more about the daily activities of the site's inhabitants. It was noted that earthquake faulting had disrupted stratigraphy so that some areas were not able to be effectively investigated.

There is still significant academic interest in the sequence at Teleilat Ghassul, especially in the "pre-Ghassulian" levels. Despite a number of preliminary reports (Hennessy 1969, 1982, 1989), Hennessy's work was not completely accepted at the time. His Late Neolithic material remains largely unpublished and there is still significant interest in the sequence. The BSAJ/USyd team excavated Late Neolithic material over c. 46 m2. Bourke's excavations have increased the coverage to c. 51 m2 in total. This book publishes the critical Area A ceramic sequence from both Hennessy and Bourke's excavations.

Material excavated over a 30 year period is included in this study. It begins with material excavated by E. Prof. J.B. Hennessy's project (1967-77) and is supplemented by material excavated by Dr S. J. Bourke's team (1994- 7). The following chapter presents the stratigraphic context of the ceramics considered in this book, which concentrates primarily upon the material from Area A ( the deep cut). This is because it is the only area where a complete sequence is present. No other area on the site has produced Late Neolithic material. This area is arguably the most intensively explored area on the site, although the area where the "sanctuary complex" was found (Area E) has also been well sounded.
Footnotes

13 A catalogue of the ceramics and other finds was later attempted by Lee (1973) although this has remained unsatisfactory due to the lack of firm stratigraphy.

Stratigraphy

The deep cut was laid out as Area A, which is located on the summit of the main mound (plate III.1 ), partly excavated by the PBI as Trench I-II (see figure 3.1a). Twelve squares have been excavated within it in total, and four of these reached sterile soil. These are Hennessy's All and AIII and Bourke's sondages, AX and AXI (see figure 3.1 a and b). It is the ceramics from these four squares that form the backbone of this work. AX1 was dug through Hennessy's original square AI and AX was excavated directly to its north (see plate III.2).

On the basis of his excavations Hennessy stated that he had isolated ten phases of occupation, A+ to I (Hennessy 1969). These effectively break down into four main phases of occupation, which I have termed Late Neolithic, Early Chalcolithic, Middle Chalcolithic and Late Chalcolithic (table 3.1). It must be stressed that it is not clear how these might relate to the original PBI determination of I-IV, which was based on crudely excavated information. It is shown in table 3.1 that Bourke's sondages include an extra phase (phase J) which predates the BSAJ/USyd's earliest phase (I). The BSAJ/USyd "pit-dwellings" were dug into sterile soil whereas Bourke's were dug into occupation levels that were largely without features (phase J). It is difficult to be definitive about the reason for this given the small exposures thus far revealed by the USyd team. Sterile was reached in the AX and AXI sondages at a lower absolute level than that of Hennessy's. It may be assumed that Bourke's sondages are, in fact, on the western-most edge of the Late Neolithic tell, and perhaps a little downslope from Hennessy's. In this case, phase J may not be significantly different from Hennessy's phases H and I, and for the purposes of this research, they are treated together.

Table 3.1 gives the stratigraphic phases as isolated in Hennessy's and Bourke's excavations. It should be noted that phases A+ to I, as they are interpreted here, may not correspond exactly to Hennessy's original divisions.

Correlation between BSAJ/USyd and USyd work Table 3.1

Correlation between BSAJ/USyd and USyd work

Lowell (2001)


Hennessy's first stratigraphic analysis was based solely upon the 1967 All sondage (Hennessy 1969). Detailed description of his stratigraphic divisions of deposits excavated after 1967 has never appeared in print. The stratigraphic analysis which appears here is my own interpretation of the two squares as a whole, and as they compare to Bourke's sondages. Correspondence between the two excavations was made largely on the basis of the sections and plans, taking into account similar features and absolute levels. The close proximity of Bourke's sondages to Hennessy's material made this relatively easy. The periodisation here is based upon major phase groupings. These rely upon the major changes in building phases (see below).

AX and AXI Methodology under Bourke

Introduction

The USyd return to Teleilat Ghassul in 1994 under Stephen Bourke was primarily designed to retrieve archaeobotanical and archaeozoological material to supplement the architectural and cultural sequence that Hennessy's BSAJ/USyd team had recovered. In addition to the environmental data, a significant sample of ceramic and other material was recovered, making it possible to enlarge upon Hennessy's sample.

Method

Most sondages dug across the site were 1 x 2m (see Bourke et al. 1995, in press) although AXI was expanded to 2 x 2m in 1995. Each of the sondages had one trained archaeologist (site supervisor) who excavated and removed the deposits and 4-5 local workmen who took the soil to the sieve, and then to the spoil heap. The excavation method was based on the "locus level" system, loci being horizontal distinctions and levels being vertical distinctions. Each sondage was, when necessary, divided into separate loci on the basis of walls or other features. At the appearance of a new building phase or wall the supervisor changes the locus designation, thus when the surface soil of a trench is removed as, for example, "locus 1, level 1" (expressed as locus level 1.1) and a wall appears, the material on one side of the wall would then be dug as locus level 2.1, and on the other side locus level 3.1, and below that 3.2 etc. A complete list of locus levels can be found in Appendix A. Pits and other features are given feature numbers in addition to their locus levels. Walls are given wall numbers (1, 2, 3 etc.). Photographs and scale plans were made and are reproduced here and referred to by their plate numbers/figure numbers.

Finds

All deposits were sieved, and in Area A, all were sampled archaeobotanically. In fact, in the AX and AXI sondages every deposit (except for mud brick) was taken in its entirety for archaeobotanical wet sieving. Finds were recorded simply by locus level, but were in some cases triangulated and recorded according to their exact findspot if they were considered of special significance. Plotted objects were often later given registration numbers by the small finds registrar. Preliminary processing occurred in the field and afterwards at the University ofSydney14.
Footnotes

14 Almost all of the non-registered finds from the 1994-7 excavations are held in store at the University of Sydney, N.S.W. Australia. Material from the Hennessy excavations is split between Sydney (which has the large bulk of material), the British School of Archaeology at Jerusalem (BSAJ), the British Museum (BM), the Nicholson Museum, Sydney, the Amman Citadel Museum and the Salt Museum, Jordan. Registered small finds from the 1994-1997 seasons were divided 70:30 to Jordan.

Teleilat Ghassul Sequence from Lovell (2001)

A Proposed Relative and Absolute Chronology for the Tele1lat Ghassul Sequence Table 6.1

A Proposed Relative and Absolute Chronology for the Teleilat Ghassul Sequence

Lovell (2001)

Discussion of Phasing from Stern et al (1993 v. 2)

Through the various years of excavation, an area of over 10,500 sq m was exposed. Although the earlier excavators defined four main phases, the precision of Hennessy's more recent excavations defined ten major building phases separated by camp-floor occupations. The latter occurrences are interpreted as occupational subphases when the site was reconstructed for resettlement following periods of destruction. The entire sequence, labeled phases A through I, contains over one hundred successive floor levels. Although there is a paucity of reports concerning the recent excavations, the preliminary studies show technological development for the pottery and, to a limited extent, for the flint industries. The recent excavations also suggest that frequent seismic activity in the Jordan Valley caused the destruction of numerous settlements found in the archaeological sequence. Hennessy's excavations show no continuity for the Chalcolithic settlement into the subsequent Early Bronze Age, but there is a degree of continuity from the Late (Pottery) Neolithic period not noted by the original excavators. The following table equates the original four major phases (I-IV) with Hennessy's:

Table equating the original four major phases (I-IV) with Hennessy's Table equating the original four major phases (I-IV) with Hennessy's

Stern et al (1993 v. 2)

Periodization in the Ancient Near East

Copper Age Chalcolithic
(4500–3300 BC)
Early Chalcolithic 4500–4000 BC Ubaid period in Mesopotamia
Late Chalcolithic 4000–3300 BC Ghassulian, Sumerian Uruk period in Mesopotamia, Gerzeh, Predynastic Egypt, Proto-Elamite
Bronze Age
Early Bronze Age
(3300–2100 BC)
Early Bronze Age I 3300–3000 BC Protodynastic to Early Dynastic Period of Egypt, settlement of Phoenicians
Early Bronze Age II 3000–2700 BC Early Dynastic Period of Sumer
Early Bronze Age III 2700–2200 BC Old Kingdom of Egypt, Akkadian Empire, early Assyria, Old Elamite period, Sumero-Akkadian states, Marhasi Jiroft
Early Bronze Age IV 2200–2100 BC Second half of the Sixth Dynasty of Egypt, First Intermediate Period of Egypt
Middle Bronze Age
(2100–1550 BC)
Middle Bronze Age I 2100–2000 BC Third Dynasty of Ur
Middle Bronze Age II A 2000–1750 BC Minoan civilization, early Babylonia, Egyptian Middle Kingdom
Middle Bronze Age II B 1750–1650 BC Second Intermediate Period of Egypt
Middle Bronze Age II C 1650–1550 BC Hittite Old Kingdom, Minoan eruption
Late Bronze Age
(1550–1200 BC)
Late Bronze Age I 1550–1400 BC Hittite Middle Kingdom, Hayasa-Azzi, Middle Elamite period, New Kingdom of Egypt
Late Bronze Age II A 1400–1300 BC Hittite New Kingdom, Mitanni, Hayasa-Azzi, Ugarit, Mycenaean Greece
Late Bronze Age II B 1300–1200 BC Middle Assyrian Empire, beginning of the high point of Phoenicians
Iron Age
Iron Age I
(1200–1000 BC)
Iron Age I A 1200–1150 BC Troy VII, Hekla 3 eruption, Bronze Age collapse, Sea Peoples
Iron Age I B 1150–1000 BC Neo-Hittite states, Neo Elamite period, Aramean states
Iron Age II
(1000–539 BC)
Iron Age II A 1000–900 BC Greek Dark Ages, traditional date of the United Monarchy of Israel
Iron Age II B 900–700 BC Kingdom of Israel, Urartu, Phrygia, Neo-Assyrian Empire, Kingdom of Judah, first settlement of Carthage
Iron Age II C 700–539 BC Neo-Babylonian Empire, Median Empire, fall of the Neo-Assyrian Empire, Phoenicia, Archaic Greece, rise of Achaemenid Persia
Classical antiquity
Achaemenid 539–330 BC Persian Achaemenid Empire, Classical Greece
Hellenistic & Parthian 330–31 BC Macedonian Empire, Seleucid Empire, Kingdom of Pergamon, Ptolemaic Kingdom, Parthian Empire
Roman & Persian 31 BC – 634 AD Roman–Persian Wars, Roman Empire, Parthian Empire, Sassanid Empire, Byzantine Empire, Muslim conquests

Chronological Divisions

Phase C Earthquake - Late Chalcolithic

Plans, Sections, Harris Matrix, and Photos

Plans, Sections, Harris Matrix, and Photos

Plans

Normal Size

  • Fig. 3.1a                Plan of Teleilat Ghassul showing excavated areas from Lovell (2001)
  • Fig. 3.1b                Plan of Area A showing the position of Bourke's soundings from Lovell (2001)
  • Fig. 3.9                Composite plan of Area A phase C from Lovell (2001)

Magnified

  • Fig. 3.1a                Plan of Teleilat Ghassul showing excavated areas from Lovell (2001)
  • Fig. 3.1b                Plan of Area A showing the position of Bourke's soundings from Lovell (2001)
  • Fig. 3.9                Composite plan of Area A phase C from Lovell (2001)

Sections

  • Fig. 3.14                section AII from Lovell (2001)

Harris Matrix

Magnified

  • Fig. 3.15                AII Harris matrix from Lovell (2001)

Photos

  • Plate III.16                from Lovell (2001)
  • Plate III.17                from Lovell (2001)

Discussion
Discussion

References
Lovell (2001)

Area A, Square II

Introduction

This square was the first to be excavated and provided the essential phases upon which Hennessy built his sequence. In 1967, from phase D down only part of the square was excavated as a small sondage. When it reached natural soil it covered only c. 1 x 1 m. The rest of the AII square was not excavated in 1975. Excavation recommenced in 1977 when the square was reduced by 1m 50 in order to make the north section safe. The aim was to further explore the lower levels, and the square was taken down to sterile levels over a c. 21 m2 area. Unfortunately some of this information is lost because the 1977 excavators inadvertently reused locus level numbers which had already been allocated in the 1967 season. Whilst separate bag numbers were used in the 1977 seasons to distinguish those finds from the 1967 material, some mixing of material occurred before the error was detected23. For purposes of clarity, 1977 locus numbers have been retrospectively changed on the section and within the text, a 1 has replaced the second digit. Wall lettering was also reused but in this case, it is possible to deduce from the plans to which phase a wall belongs. A ' is used throughout to distinguish 1967 and 1970s walls (eg. 1977 wall J is referred to as wall J'). The section is presented here as figure 3.14, the harris matrix is figure 3.15.
Footnotes

23 This means that when the present author began work, a large amount of pottery had to set aside because it was not clear to which phase it belonged. This problem has only affected the ceramics from AII.

Phase C

Whilst wall J may be built slightly later than wall K (see figures 3.14-15), they appear to be bonded together forming the comer of a structure (see plates III.16-7). Although an important piece of the section is missing (figure 3.14), it seems likely that they were partly contemporary, although wall J survived into phase B. The removal of 106.12 revealed wall J, while 106.13 revealed wall K. A door socket for wall K was removed in the excavation of 106.12 (a plaster floor). There are a number of earthquake splits which affect the area around what was probably the entrance to this structure. 106.14, 15 and 16 were dug in this area while 106.14a,b and 16a were excavated within the room itself.

A floor covering the entire room was excavated as 106.17 and runs up to wall J. Two door sockets were found in debris in a level above which may indicate that in this earlier phase the door was in another position.

The removal of 107.11 and 11a-c revealed the existence of a new structure formed by walls L and M. The area between these two walls was not excavated in 1967. The area outside the structure was excavated in a sounding beside the north section (107.12-16). A sub-phase is present in the form of wall N and its associated deposit (107.17). From the photograph (plate III.17) walls M and K appear to be bonded together. A third wall appears in 1975 plans. This is not numbered, but significantly changes the nature of the structure (see figure 3.9).

Phase B Earthquake - Late Chalcolithic

Plans, Sections, and Harris Matrix

Plans, Sections, and Harris Matrix

Plans

Normal Size

  • Fig. 3.1a                Plan of Teleilat Ghassul showing excavated areas from Lovell (2001)
  • Fig. 3.1b                Plan of Area A showing the position of Bourke's soundings from Lovell (2001)
  • Fig. 3.10                Composite plan of Area A phase B from Lovell (2001)

Magnified

  • Fig. 3.1a                Plan of Teleilat Ghassul showing excavated areas from Lovell (2001)
  • Fig. 3.1b                Plan of Area A showing the position of Bourke's soundings from Lovell (2001)
  • Fig. 3.10                Composite plan of Area A phase B from Lovell (2001)

Sections

  • Fig. 3.14                section AII from Lovell (2001)

Harris Matrix

Magnified

  • Fig. 3.13                AX Harris matrix from Lovell (2001)

Discussion
Discussion

References
Lovell (2001)

Area A, Square III

Introduction

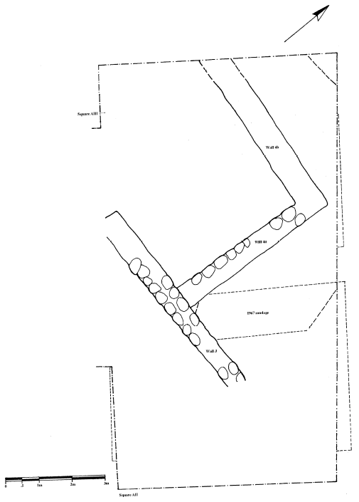
This square began, like most others in area A as a 7 x 5m exposure. In later seasons it expanded and contracted for various reasons (baulk safety, time and in one case to safe guard a wall painting which could not be removed at the time). At the bottom of the sequence it measured c. 7 x 3.4 m. The depth of deposit was just over 6m. Sterile was reached, as in AII, at c. 297.00 m below sea level, over a c. 24 m2 area. Figure 3.14 gives the section, while figure 3.13 provides the Harris matrix for this square.

Phase B

Wall 4b and an unnamed wall in the east section form the structure of this phase (figure 3.10). This building appears to have been built on the same alignment as that of the following phase. An unnamed wall in the north comer forms a "passage" which is excavated as 200.9-12. An earthquake/subsidence split is noted running down the inside of Wall 4b. Wall 4b appears to have a return (Wall 4a) which runs into the south section and abutting wall J of AII The lower levels of locus 204 relate to the occupation surfaces, pits and installations. A small jar was found on one of the floors and a plaster-lined basin was uncovered in the south of the square. A loom weight, an animal figurine, bone and flint were found in the fill of this basin. Another installation dug into the side of Wall 4b contained the broken pieces of a mortar (not planned).

Phase A Earthquake - Late Chalcolithic

Plans, Sections, Harris Matrix, and Photos

Plans, Sections, Harris Matrix, and Photos

Plans

Normal Size

  • Fig. 3.1a                Plan of Teleilat Ghassul showing excavated areas from Lovell (2001)
  • Fig. 3.1b                Plan of Area A showing the position of Bourke's soundings from Lovell (2001)
  • Fig. 3.11                Composite plan of Area A phase A from Lovell (2001)

Magnified

  • Fig. 3.1a                Plan of Teleilat Ghassul showing excavated areas from Lovell (2001)
  • Fig. 3.1b                Plan of Area A showing the position of Bourke's soundings from Lovell (2001)
  • Fig. 3.11                Composite plan of Area A phase A from Lovell (2001)

Sections

  • Fig. 3.14                section AII from Lovell (2001)

Harris Matrix

Magnified

  • Fig. 3.15                AII Harris matrix from Lovell (2001)

Photos

  • Plate III.18                from Lovell (2001)
  • Plate III.19                from Lovell (2001)
  • Plate III.20                from Lovell (2001)

Discussion
Discussion

References
Lovell (2001)

Area A, Square II

Introduction

This square was the first to be excavated and provided the essential phases upon which Hennessy built his sequence. In 1967, from phase D down only part of the square was excavated as a small sondage. When it reached natural soil it covered only c. 1 x 1 m. The rest of the AII square was not excavated in 1975. Excavation recommenced in 1977 when the square was reduced by 1m 50 in order to make the north section safe. The aim was to further explore the lower levels, and the square was taken down to sterile levels over a c. 21 m2 area. Unfortunately some of this information is lost because the 1977 excavators inadvertently reused locus level numbers which had already been allocated in the 1967 season. Whilst separate bag numbers were used in the 1977 seasons to distinguish those finds from the 1967 material, some mixing of material occurred before the error was detected23. For purposes of clarity, 1977 locus numbers have been retrospectively changed on the section and within the text, a 1 has replaced the second digit. Wall lettering was also reused but in this case, it is possible to deduce from the plans to which phase a wall belongs. A ' is used throughout to distinguish 1967 and 1970s walls (eg. 1977 wall J is referred to as wall J'). The section is presented here as figure 3.14, the harris matrix is figure 3.15.
Footnotes

23 This means that when the present author began work, a large amount of pottery had to set aside because it was not clear to which phase it belonged. This problem has only affected the ceramics from AII.

Phase A

Wall F and wall G ( also called wall E) are the basis of phase A (figure 3.11). The mudbrick superstructure of both was excavated as 106.4. East of this structure is a circular stone installation, feature 8 (figure 3.11, plate III.18). Two probes, excavated as loci 104 and 105 were excavated to try to confirm the relationship between feature 8 and walls E and F (plate III.19). It appears that the stone circle belongs to this phase, along with wall H which runs between wall G and feature 8. The area outside this structure (interpreted here as a courtyard) was removed as 107.1, 1a-d and 2. The removal of 1d revealed a definite floor level (107.3) which is probably equivalent to 106.6 and 6a. A section through feature 8 was excavated as 107.1e. Feature 8 is described by the excavator as "a circle of stones, usually a double line set in, and filled in, with characteristic red clay".

Locus 106 is the levels within walls E and F. These levels are 106.1 and 1a (mud brick debris), 106.2 (silty ash) and 106.3 (wash with mud brick debris). In the comer of this structure were burials 4 (plate III.20) and 5, two infant burials with a broken pot covering each and associated flints. These were excavated together as 106.3a (see plate III.19 for their location). Locus 103 also belongs to this phase.

In addition, the removal of the floor 107.3 revealed another floor level (107.4) which ran up to a new wall (wall I)25. Levels under this included 107.5-7. The area under walls G and F (phase A) is earthquake disturbed. This was excavated as 106.8-12. Locus 108 belongs to this phase also.
Footnotes

25 A radiocarbon date was calculated from a sample (SUA 736) taken from a posthole with the context number AII 107.3/4 (Weinstein 1984:334) . This posthole is visible in the section. See chapter 5 for further details.

Archaeoseismic Effects
Phase C Earthquake - Late Chalcolithic

Damage Type Location Image(s) Comments
Fractures folds and popups
on irregular pavements ?
entrance to a structure outside the corner of walls J and K

  • There are a number of earthquake splits which affect the area around what was probably the entrance to this structure. - Lovell (2001:25)

Phase B Earthquake - Late Chalcolithic

Damage Type Location Image(s) Comments
Displaced Wall ? inside of wall 4b
  • An earthquake/subsidence split is noted running down the inside of Wall 4b - Lovell (2001:26)

Phase A Earthquake - Late Chalcolithic

Damage Type Location Image(s) Comments
Fractures folds and popups
on irregular pavements ?
area under walls G and F
  • the removal of the floor 107.3 revealed another floor level (107.4) which ran up to a new wall (wall I). Levels under this included 107.5-7. The area under walls G and F (phase A) is earthquake disturbed. This was excavated as 106.8-12. Locus 108 belongs to this phase also. - Lovell (2001:25)

Archaeoseismic Intensity Estimates
Phase C Earthquake - Late Chalcolithic

Damage Type Location Image(s) Comments Intensity
Fractures folds and popups
on irregular pavements ?
entrance to a structure outside the corner of walls J and K

  • There are a number of earthquake splits which affect the area around what was probably the entrance to this structure. - Lovell (2001:25)
VI+
This archeoseismic evidence requires a minimum Intensity of VI (6) when using the Earthquake Archeological Effects chart of Rodríguez-Pascua et al (2013: 221-224).

Phase B Earthquake - Late Chalcolithic

Damage Type Location Image(s) Comments Intensity
Displaced Wall ? inside of wall 4b
  • An earthquake/subsidence split is noted running down the inside of Wall 4b - Lovell (2001:26)
VII+ ?
This archeoseismic evidence requires a minimum Intensity of VII (7) when using the Earthquake Archeological Effects chart of Rodríguez-Pascua et al (2013: 221-224).

Phase A Earthquake - Late Chalcolithic

Damage Type Location Image(s) Comments Intensity
Fractures folds and popups
on irregular pavements ?
area under walls G and F
  • the removal of the floor 107.3 revealed another floor level (107.4) which ran up to a new wall (wall I). Levels under this included 107.5-7. The area under walls G and F (phase A) is earthquake disturbed. This was excavated as 106.8-12. Locus 108 belongs to this phase also. - Lovell (2001:25)
VI+ ?
This archeoseismic evidence requires a minimum Intensity of VI (6) when using the Earthquake Archeological Effects chart of Rodríguez-Pascua et al (2013: 221-224).

Notes and Further Reading
References

Bibliography from Stern et al (1993 v. 2)

Main publications

A. Mallon and R. Koppel, annual excavation reports, in Biblica (!930-1938)

id. et al., Teleilat Ghassull, Rome 1934

Ghassul2, Rome 1940

R. North, Ghassul1960 Excavation Report, Rome 1961

Other studies

R. North, Biblica40 (1959), 541-555

id., ADAJS-9 (1964), 68-74

id., SHAJ l (1982), 59- 66

B. Hennessy, RB 75 (!968), 247-250

id., Levant l (1969), 1-24

id., SHAJ I (1982), 55-58

E. D. Stockton, Levant 3 (1971), 80-81

J. R. Lee, "Chalcolithic Ghassul" (Ph.D. diss., Hebrew Univ. of Jerusalem 1973)

C. Elliott, PEQ 109 (1977), 3-25

id., Levant 10 (1978), 37-54;1. A. Sauer, BA 42(1979), 9

P.M. Schwartzbaum et al., Third International Symposium on Mudbrick (Adobe) Preservation, Ankara 1980, 177-200

D. 0. Cameron, The Ghassulian Wall Paintings, London 1981

American Archaeology in the Mideast, 150

G. Dollfus, MdB 46 (1986), 5-6

T. E. Levy, BA 49 (1986), 82-108

id. and A. Holl, Archeologie Europeenne 29 (1988), 283-316

I. Gilead, Journal of World Prehistory 2 (1988), 397-443

id. (andY. Goren). RASOR 275 (1989), 5-14

Khouri, Antiquities, Amman 1988, 81-85

Weippert 1988 (Ortsregister)

Akkadica Supplementum 7-8 (1989), 230-241

Y. Goren, Mitekufat Ha'even 23 (1990), 100*-112*

B. Rothenberg, University of London. Institute for Archaeo-Metallurgical Studies Newsletter 17 (1991), 1-7.

Bibliography from Stern et al (2008)

Main publications

Teleilat Ghassul Project, Sydney University: Ghassul Archaeozoological Report 1995– 1997 Seasons, by L. D. Mairs, 1997

Teleilat Ghassul Petrography 1995–1996, by W. I. Edwards, 1997; Teleilat Ghassul Shell 1994–1997, A First Listing, by D. S. Reese, 1997

Ghassul Archaeobotany Report, 1997 Season, by J. Meadows, 1998

Teleilat Ghassul: A Large Village on the Periphery of Egyptian Trade, by J. L. Lovell, 1998

S. A. Scham, Pastoralism and the Emergence of Sociopolitical Complexity in the Chalcolithic Period, Teleilat Ghassul, Jordan (Ph.D. diss.), Washington, DC 1999

J. L. Lovell, The Late Neolithic and Chalcolithic Periods in the Southern Levant: New Data from the Site of Teleilat Ghassul, Jordan (Monographs of the Sydney University Teleilat Ghassul Project 1

BAR/IS 974), Oxford 2001

ibid. (Reviews) Paléorient 28/2 (2002), 148–155. — BASOR 331 (2003), 69–71. — Mitekufat Ha’even 33 (2003), 218–224

JNES 64 (2005), 143–144. — NEAS Bulletin 50 (2005), 61–62.

Studies

B. Rothenberg, IAMS Studies 17 (1991), 6–7

S. Sadeh & R. Gophna, Mitekufat Ha’even 24 (1991), 135–148

J. B. Hennessy, ABD, 2, New York 1992, 1003–1006

id., OEANE, 5, New York 1997, 161–163; J. Perrot, EI 23 (1994), 100*–111*

S. J. Bourke (et al.), ADAJ 39 (1995), 31–63

44 (2000), 37–91

id., AJA 99 (1995), 509–510

100 (1996), 518–520

103 (1999), 493–494

id., Orient Express 1996, 41–43

2000, 52–54

id., The Prehistory of Jordan II, Berlin 1997, 395–418

id., SHAJ 6 (1997), 249–260

id. Radiocarbon 43 (2001), 1217–1222 (et al.)

46 (2004), 315–323 (et al.)

id., Egypt and the Levant, London 2002, 152–164

id., PEQ 134 (2002), 2–27

id., Paléorient 30/1 (2004), 179–182

D. O. Cameron, Bolletino del Centro Camuno di Studi Preistorici 28 (1995), 114–120

P. L. Seaton, Trade, Contact and the Movement of Peoples in the Eastern Mediterranean (J. B. Hennessy Fest.

Mediterranean Archaeology Suppl. 3

eds. S. J. Bourke & J. -P. Descoeudres), Sydney 1995, 27–30

S. Scham, ACOR Newsletter 8/1 (1996), 4

id., AJA 101 (1997), 507–508

id., BA 60 (1997), 108

id., Dept. of Pottery Technology, Leiden University, Newsletter 16–17 (1998–1999), 85–105

id. (& Y. Garfinkel), BASOR 319 (2000), 1–5

A. Enea, Contributi e Materiali di Archeologia Orientale 7 (1997), 163–176

L. Quintero & I. Kohler-Rollefson, The Prehistory of Jordan II, Berlin 1997, 567–574

G. O. Rollefson, ibid., 567–574

A. Von den Driesch, ibid., 511–556

R. G. Khouri, Jordan Antiquity Annual, Amman 1997–1998, no. 13

E. B. Banning, NEA 61 (1998), 188–237

66 (2003), 4–21

id., ICAANE, 1, Roma 2000, 1503–1514

J. L. Lovell, PEQ 130 (1998), 176

id., Australians Uncovering Ancient Jordan: 50 Years of Middle Eastern Archaeology (ed. A. Walmsley), Sydney 2001, 31–42; M. Blackham, Levant 31 (1999), 19–64

Y. Garfinkel, Neolithic and Chalcolithic Pottery of the Southern Levant, Jerusalem 1999

G. Philip & O. Williams-Thorpe, ICAANE, 1, Roma 2000, 1383

S. P. Tutundzic, Glasnik: The Journal of the Serbian Archaeological Society 17 (2001), 77–88

I. Gilead, Beer Sheva 15 (2002), 103–128

A. H. Joffe, AASOR 58 (2003), 45–67.

Wikipedia pages

Teleilat el-Ghassul



Ghassulian



kmz's for Site Visits
kmz's